Тест 1.3 Beam with tightener
Verification of the LIRA-FEM software / Тест 1.3 Beam with tightener / Analytical solution: M. Laredo, Résistance des matériaux, Paris, Dunod, 1970, p. 77.
Analytical solution: M. Laredo, Résistance des matériaux, Paris, Dunod, 1970, p. 77.
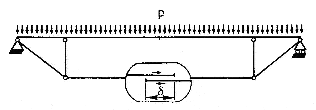
Geometry:
Стержни AD, DF, FB: А = 0.01516 м2; Аr = A/2.5; I = 2.174 x 10-4 м4.
Стержни AC, DC, CE, FE, EB: А1 = А2 = 4.5 x 10-3 м2; А3 = 3.48 x 10-3 м2.
а = 2 м; b = 4 м; l = 8 м; с = 0.6 м; d = 2.088 м.
Material characteristics: Isotropic elastic, Е=2.1 х 1011 Па, G=0.4 x Е Па.
Boundary conditions: uA = vA = 0; vB = 0.
Stresses:
|
p = -50000Н/м. The tightening is tightened on the δ = 6.52 x 10-3 м. |
CALCULATION RESULTS:
|
Point |
The desired value |
Analytical solution |
Calculation results (LIRA) |
Uncertainty,% |
|
СЕ |
Longitudinal force, Н |
584584 |
584584 |
0 |
|
Н |
Moment М, Нм |
49249,5 |
49249,5 |
0 |
|
D |
Moving vD, м |
-0,0005428 |
-0,0005428 |
0 |



Comments